VSC-SA: Силиконовые присоски VALMA, круглые негофрированные
Уровень вакуума до -95 кПа
Широкий диапазон рабочих температур
Изготовлены из силикона
Сделано в России
Документация и ПО
| Наименование | Тип документа | Тип файла |
|---|---|---|
| VALMA-VSCN.ПС (Паспорт Ниппель с присоской) | Паспорт | |
| Информационное письмо - Ниппели с присоской | Письмо |
| Наименование | Цена с НДС |
|---|---|
| Загрузка… | |
| Загрузка… | |
| Загрузка… | |
| Загрузка… | |
| Загрузка… | |
| Загрузка… | |
| Загрузка… | |
| Загрузка… | |
| Загрузка… |
Описание силиконовых присосок VALMA серии VSC-SA
Присоски VALMA серии VSC являются компонентами ниппеля с присоской серии VSCN и предназначены для сборки ниппеля с присоской или для замены аналогичных износившихся деталей данного изделия.
Устройство и принцип работы ниппелей и присосок VALMA
Ниппель с присоской VSCN состоит из ниппеля SCN и присоски VSC, надетой на этот ниппель (см. рисунок 1). Ниппели SCN в зависимости от модификации могут иметь наружную или внутреннюю резьбу для подключения к вакуумной системе. Фиксация присоски на ниппеле осуществляется за счет сил натяжения, формирующихся в материале присоски в области посадочного диаметра, после ее надевания на ниппель. Некоторые модели ниппелей дополнительно имеют опорную поверхность, предотвращающую соскакивание присоски с ниппеля при повышенной нагрузке. Присоска с ниппелем и опорной поверхностью показана на рисунке 1 справа.
Для захвата и удержания какого-либо объекта необходимо переместить его в положение, в котором поверхность объекта будет соприкасаться с кромкой контактной поверхности присоски VSC (см. рисунок 2 слева). После этого необходимо через ниппель SCN откачать газ из объема, образованного контактными поверхностями присоски и захватываемого объекта. Это осуществляется подключением ниппеля к вакуумной линии и подачей вакуума в эту линию. В результате подачи вакуума (откачки газа), давление газа на контактную поверхность внутри присоски падает. Давление окружающего газа снаружи присоски сохраняется. Под действием образовавшейся разности давлений присоска деформируется и прижимается к поверхности поднесенного к ней объекта (см. рисунок 2 справа). Давление окружающего газа продолжает оказывать прижимающее действие как на саму присоску, так и на поднесенный объект.
Таким образом, захват и удержание поднесенного к присоске объекта осуществляется за счет разности давления окружающего газа снаружи присоски и давления газа внутри присоски, которое определяется уровнем вакуума, поданного в присоску через ниппель.
Усилие захвата и удержания объектов, развиваемое изделием зависит от многих факторов, в том числе от уровня вакуума, диаметра присоски, структуры и формы поверхности захватываемого объекта, а также от проницаемости захватываемого объекта для газов. Допустимый вес объекта, перемещаемого с помощью изделия зависит также от положения объекта и присоски в пространстве и от фактических ускорений, возникающих при перемещении объекта. Выбор моделей ниппелей с присоской, ниппелей и присосок, а также их количества и взаимного расположения должен осуществляться при проектировании системы захвата и перемещения объектов в составе которой они будут использованы.
Вес, форма и структура поверхности объекта, контактирующего с присоской, влияют не только на работоспособность системы, но также и на износ присоски и наработку до ее повреждения.
Технические характеристики присосок VALMA VSC-SA
| Параметр | Значение |
|---|---|
| Рабочая и окружающая среда | газообразные вещества, совместимые с материалами изделия |
| Максимально допустимый уровень вакуума |
от 0 до -0,95 бар (от 0 до -95 кПа) |
| Рабочая температура | -30...+180 °C длительно -50...+240 °С кратковременно |
| Материал присоски | силикон, твердость 45...55 Shore A |
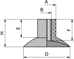
Габаритные и присоединительные размеры присосок VALMA VSC-SA
(типоразмер 1)
(типоразмер 2)
| Модель | Усилие*, Н | Объем**, мл | Типоразмер | Габаритные и присоединительные размеры, мм | Вес, г | ||||||||
|---|---|---|---|---|---|---|---|---|---|---|---|---|---|
| A | B | C | D | E | F | G | H | I | |||||
| VSC-SA-10-10 | 1,9 | 0,227 | 1 | 7 | 4 | - | 10 | 8,5 | 8,5 | - | 11 | - | 0,3 |
| VSC-SA-15-10 | 4,4 | 0,364 | 1 | 8 | 4 | - | 15 | 8 | 9,5 | - | 12 | - | 0,6 |
| VSC-SA-20-10 | 7,8 | 0,536 | 1 | 8 | 4 | - | 20 | 8 | 9,5 | - | 12 | - | 0,8 |
| VSC-SA-25-15 | 12,2 | 1,628 | 1 | 12 | 6 | - | 25 | 10 | 11,5 | - | 16 | - | 1,7 |
| VSC-SA-30-15 | 17,6 | 2,055 | 1 | 12 | 6 | - | 30 | 10 | 12,5 | - | 17 | - | 2,5 |
| VSC-SA-35-15 | 24 | 3,292 | 1 | 15 | 10 | - | 35 | 10 | 11,5 | - | 16 | - | 2,4 |
| VSC-SA-40-15 | 31,4 | 4,741 | 1 | 15 | 10 | - | 40 | 10 | 12,5 | - | 17 | - | 3,5 |
| VSC-SA-45-10 | 39,7 | 8,161 | 1 | 15 | 10 | - | 45 | 5 | 9,5 | - | 18 | - | 6,8 |
| VSC-SA-60-10 | 70,6 | 18,148 | 2 | 15 | 10 | 25 | 60 | 4 | - | 10 | 22 | 2,5 | 15 |
| VSC-SA-85-10 | 141,8 | 54,740 | 2 | 25 | 15 | 25 | 85 | 16 | - | 23 | 41 | 4 | 45,5 |
* — Усилие приведено для гладкой, недеформируемой, газонепроницаемой поверхности при уровне вакуума -75 кПа с трехкратным коэффициентом запаса.
** — Указан объем внутренней полости изделия.
Информация для заказа присосок VALMA серии VSC-SA
| VSC- | S | A | - | |
|---|---|---|---|---|
| Материал присоски | ||||
| Силикон | S | |||
| Форма присоски | ||||
| Круглая, негофрированная | A | |||
| Диаметр присоски | ||||
| 10 мм | 10-10 | |||
| 15 мм | 15-10 | |||
| 20 мм | 20-10 | |||
| 25 мм | 25-15 | |||
| 30 мм | 30-15 | |||
| 35 мм | 35-15 | |||
| 40 мм | 40-15 | |||
| 45 мм | 45-10 | |||
| 60 мм | 60-10 | |||
| 85 мм | 85-10 | |||
Пример: VSC-SA-35-15.



